domingo, 29 de março de 2026

Patente da Porsche usa fluido do para-brisa para deixar o 911 mais eficiente

A Porsche continua a busca por alternativas para evitar a eletrificação de seus carros, especialmente o 911. Embora o esportivo já tenha uma versão híbrida, a transição para uma versão elétrica ainda está distante e, por enquanto, descartada. Diante disso, a fabricante alemã explora soluções tecnológicas além das convencionais.

Essa movimentação é impulsionada por normas de emissões mais rigorosas, a exemplo da Euro 7. Tais regulamentações aumentam a exigência sobre os motores a combustão, especialmente nas fases iniciais de funcionamento. Para se adequar, a Porsche investe em combustíveis sintéticos e, agora, desenvolve uma alternativa baseada no uso do hidrogênio.

O objetivo é utilizar o gás para auxiliar no controle de emissões, mantendo a base do conjunto mecânico inalterada. Na prática, a medida permite que o veículo cumpra as legislações ambientais sem a necessidade de uma eletrificação integral.

Hidrogênio para otimizar o catalisador

O sistema produz gás hidrogênio a partir dos limpadores de para-brisa para aquecer o catalisador
O sistema produz gás hidrogênio a partir dos limpadores de para-brisa para aquecer o catalisadorDivulgação/Porsche
Continua após a publicidade

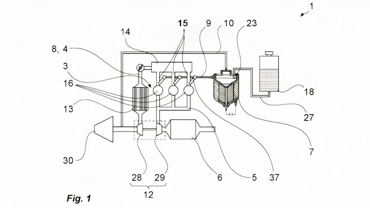
O sistema, registrado em patente, transforma a água do lavador do para-brisa em hidrogênio por meio de eletrólise. A tecnologia dispensa o uso de um tanque dedicado para armazenamento, gerando o gás em pequenas quantidades sob demanda. Resta saber se a água poderá continuar com detergente misturado.

Novo sistema de produção de hidrogênio a Porsche
Esquema da patente mostra a geração do gás em pequenas quantidades e sob demandaDivulgação/Porsche

O hidrogênio gerado tem a função de reduzir a carga de trabalho do catalisador, componente que filtra os gases de escape. O desafio técnico atual reside no fato de que o catalisador atinge sua eficiência máxima apenas em altas temperaturas, condição que não ocorre logo após a partida do motor.

Continua após a publicidade
Novo sistema de produção de hidrogênio a Porsche
Injeção após o turbocompressor evita riscos de ignição e assegura precisão na queimaDivulgação/Porsche

Para solucionar essa limitação, a montadora adapta o aparelho de eletrólise de Hoffmann, uma tecnologia desenvolvida no século XIX. O mecanismo permite o aquecimento mais rápido do sistema, antecipando o processo antes mesmo da ignição do motor.

Porsche 911 Carrera GTS 992.2
Porsche 911 Carrera GTS 992.2Fernando Pires/Quatro Rodas
Continua após a publicidade

O documento da patente detalha que a injeção de hidrogênio ocorre após o turbocompressor, mediante controle individual por cilindro. Esse método previne riscos de ignição indesejada e assegura uma precisão superior no processo de queima.

A implementação dessa tecnologia tem o potencial de estender a viabilidade do motor a combustão em configurações híbridas, adequando o Porsche 911 às exigências ambientais. Ainda não existe confirmação oficial de uso em veículos de produção, uma vez que a adoção depende de análises de custo e viabilidade técnica. Contudo, a iniciativa evidencia a busca da marca por alternativas antes da transição elétrica definitiva.

Publicidade

Deixe um comentário

O seu endereço de e-mail não será publicado. Campos obrigatórios são marcados com *